您好,欢迎来到商国互联!

收藏本站

商国互联

点击查看优质供应商

当前位置:商国互联首页> 供应信息 > 环保、水处理 > 给水设备 > 消防给水设备

XBD-HY型立式恒压消防切线泵 

XBD-HY型立式恒压消防切线泵

  • 品 牌:上海超盾
  • 价 格:面议 /
  • 供 应 地:上海上海市
  • 包装说明:
  • 产品规格:
  • 运输说明:
  • 交货说明:
  • 发布日期:2016/4/22 9:55:25
  • 联系人QQ:2880622905 点击这里给我发消息

详细说明

详细说明Explain

XBD-HY型立式恒压消防切线泵

XBD-HY型立式恒压消防切线泵

 

产品概述

XBD-HY系列消防泵其性能、技术条件完全符合国家新颁布的GB6245-1998《消防泵性能要求和试验方法》标准的要求。专用于消防系统的稳压送压。

产品特点

1、XBD-HY系列立式恒压消防切线泵,具有变流稳压的特点,即在全流量范围内,扬程变化不大,泵从零流量到所需最大流量范围内变化时,其扬程变化在5%范围内,且小流量或零流量时不超压,从而避免了普通离心泵在消防现场中小流量时超压而大流量时供水不上的现象。大大提高了灭火效率及消防设备和消防人员的安全可靠性。  

2、根据消防泵自身特点,结合本公司的具体情况,对于75kW以下(含75kW)的恒压消防泵采用卧式、立式结构,75kW以上只采用卧式结构。整个系列均采用加长轴的Y型直联电机,泵结构紧凑、美观大方、体积小,机械密封可靠,这大大提高了水泵机组的可靠性;泵叶轮均为开式、轴向力小,无口环,也就杜绝了锈蚀咬死,因此整个泵系统运行平稳、噪音低、使用寿命长,使用维修方便。  

应用范围

XBD-HY型立式恒压消防切线泵主要适用于工业、民用建筑物固定消防系统(消防栓灭火系统、自动喷淋系统和喷雾灭火系统)的给水,另外也可用于消防和生活(生产)共用的给水系统及建筑、市政、工矿、锅炉给水等各种场合。

型号意义

 

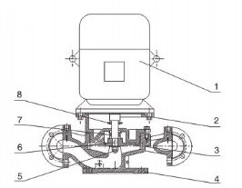
结构图及材料表

 

 

序号

1

2

3

4

5

6

7

8

名称

电机

泵盖

叶轮

泵体

叶轮螺母

机械密封

挡水圈

材料

YE2

QT400-18

QT400-18

QT400-18

不锈钢

不锈钢

硬质合金

橡胶

 


 

卖家名片Cards

卖家名片

上海超盾机械制造有限公司

联系人:王先生(销售)

手机:13166200900

邮箱:2880622905@qq.com

地址:上海上海市上海浦东新区惠南镇双店路518号

电话: 传真:

旺铺

在线询盘/留言Online Inquiry

  • *您的姓名:

  • *联系手机:

  • 固话电话:

  • E-mail:

  • 所在单位:

  • 需求数量:

  • *咨询内容:

免责声明:交易有风险,请谨慎交易,以免因此造成自身的损失,本站所展示的信息均由企业自行提供,内容的真实性、准确性和合法性由发布企业负责。本站对此不承担任何保证责任。
商国互联供应商 品质首选

上海超盾机械制造有限公司

  • 联系人:王先生(销售)
  • 手机:13166200900
  • 电话:
  • 会员级别:免费会员
  • 认证类型:企业认证
  • 企业证件:已通过企业认证 [已认证]
  • 认证公司:
  • 主营产品:消防增压稳压设备 立式多级消防泵 无负压稳流罐
  • 公司所在地:上海上海市