您好,欢迎来到商国互联!

收藏本站

商国互联

点击查看优质供应商

当前位置:商国互联首页> 供应信息 > 环保、水处理 > 污水处理设备 > 污泥处理设备

氨氮达标处理 

氨氮达标处理

  • 品 牌:
  • 价 格:面议 /
  • 供 应 地:河北省秦皇岛市
  • 包装说明:
  • 产品规格:
  • 运输说明:
  • 交货说明:
  • 发布日期:2016/8/25 10:06:30
  • 联系人QQ:554163071 点击这里给我发消息

详细说明

详细说明Explain

氨氮达标处理

TLD氨氮脱除膜及膜组件

同力达是一家富有水行业经验又极富创新能力的公司,同力达公司研发和生产团队经过数年研发并借鉴国外先进经验,开发出TLD氨氮脱除膜及膜组件,TLD氨氮脱除膜技术具有的优良性能使其在世界上处于领先位置。

现有氨氮脱除膜丝疏水性能普遍偏低,TLD氨氮脱除膜是针对各行业中废水中含有氨氮而开发的新一代中空纤维膜产品,同力达开发的膜丝具有较高的疏水性能公司提供氨氮废水处理综合解决方案和产品,能轻松地将水体中的氨氮脱除到1ppm以下,且投资少、运行费用低。

   产品特点

    1.1高效防污堵

       ● 特殊膜组件结构设计,避免堵塞膜丝内腔,降低了预处理工艺的精度要求

     1.2高疏水性能

       ● 膜丝本体上设置具有特殊外翻凸缘的有多个疏水孔,疏水孔与膜丝内腔相连通,极大增加膜的疏水性能

1.3高脱氮性能

   ● 特殊膜丝疏水孔外翻凸缘结构设计和独特膜组件设计,提高了氨氮的脱除能力。

     1.4有效处理高、中、低氨氮污水

       ● 根据原水特点可采用续批式或连续式操作,灵活稳定

       ● 根据出水水质要求可采用并联或串联运行方式,满足不同水质和水量要求

    1.5 实现高空间利用率及高回收效率

   ● 采用密度高、占地面积小的膜框架设计

       ● 与常规几种氨氮脱除法比,技术成熟,对中高浓度氨氮废水均有理想的处理效果,脱除率最高可达99%以上。

1.6 节水且回收副产品

  ● TLD氨氮脱除膜的吨水消耗是几种常规方法的1/3~3/4。特别是在高盐,高粘度的废水处理中,优越性更为突出。  

  ● 产生氨盐副产品可以创造经济效益,减少处理费用

 

二 TLD氨氮脱除膜除氨氮原理

TLD氨氮脱除膜(也称气水分离膜)除氨氮原理图 

       T1T2膜两侧温度  P1P2膜两侧压力 PH1PH2膜两侧溶液PH值。

在膜的一侧是含氨氮废水,另一侧是酸性水溶液或水。当氨氮废水温度T1>20℃,PH1>9,P1>P2保持一定的压力差,那么废水中的铵根NH4+就变为游离氨NH3,并经废水侧界面扩散至膜表面,在膜两侧氨分压差的作用下,穿越膜孔,进入吸收液,立即与酸性溶液中的H+反应生成非挥发性的、不能逆扩散的NH4+

该过程的实质是膜蒸发、扩散与吸收的连续过程,解吸与吸收在膜的两侧同时完成。副产品铵盐的质量浓度可达20%~30%,成为清洁的工业原料,而废水中的氨氮可以降至15mg/L以下或任意要求指标。

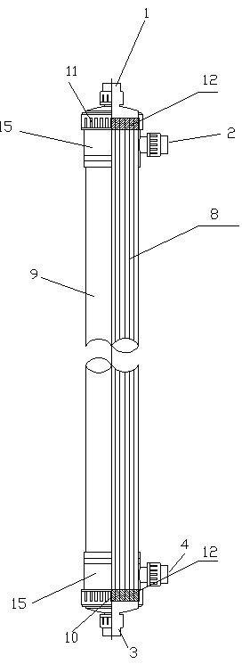
膜组件构造图

  1  ---酸吸收液出口

  2  ---氨氮废液进口

3  ---酸吸收液进口

4  ---氨氮废液出口

  8  ---膜丝

9  ---壳体

10 ---端盖 一

11 ---端盖 二

  12---胶       15---封头

氨氮脱除膜除氨氮典型流程图

● TLD氨氮脱除膜处理氨氮废水常规典型流程


  TLD氨氮脱除膜产品应用

 污水处理技术                                  净水技术

1.高氨氮废水处理                          1.水体脱硼技术                                

2.中、低氨氮废水处理                      2.安全健康直饮水技术

3.垃圾渗沥液处理技术                      3.海水淡化专利技术

4.污水处理厂提标改造新技术                4.赤潮水华的去除

5.海中氮磷油综合利用技术                  5.海岸带污染治理

6.废酸浓缩、回用技术                      6.各类地表水、地下水、井水处理

TLD氨氮脱除膜产品应用行业

氯碱行业、稀土行业、单-多晶硅、纳米材料、催化剂、垃圾渗滤液、钒业、电子材料、有色金属、污水处理厂的氨氮超标改造、化肥、合成氨、制药、制革、煤化工、焦化行业、钽铌生产业等。

TLD氨氮脱除膜产品型号参数表

膜组件型号

TLD--ADFL0440

    总项

分项

     单位

      内容

 

膜材质

 

pp+聚烯烃复合物

 

膜面积

m2

16.6-18

膜丝外径

μm

    500-600

 

微孔孔径

μm

0.1-0.3(贯穿长孔)

 

壁厚

μm

    65-75

 

膜丝长度

mm

1000

膜组件

膜管(壳)直径

mm

?90

 

膜组件长度

mm

    1150

 

每只膜组件通量

l/h

250-300

 

管口尺寸(DN

mm

DN25

 

侧面管口间距(mm

mm

    884

组装材料

膜组件粘合剂(胶)

 

   环氧树脂、聚氨酯

 

膜壳材料

 

    UPVC

使用条件

使用温度(℃)

5-45

 

运行pH值范围

 

0-14

 

化学清洗pH范围

 

耐强碱、强酸

 

运行工作压力

MPa

0.03-0.1

 

最大耐受压力

MPa

0.6

 

单次脱除率

%

45-55


关键词:

        1、氨氮废水处理 2、氨氮废水高效处理 3、氨氮废水处理价格 4、氨氮废水处理工艺 5、氨氮脱除技术 6、氨氮节能处理 7、氨氮低价处理 8、氨氮废水减排处理 9、氨氮达标处理 10、氨氮提标处理



 

卖家名片Cards

卖家名片

秦皇岛同力达环保能源股份有限公司

联系人:杨作苗(市场部经理)

手机:13603238177

邮箱:13603238177@163.com

地址:河北省秦皇岛市开发区金山北路8号

电话: 传真:

旺铺

在线询盘/留言Online Inquiry

  • *您的姓名:

  • *联系手机:

  • 固话电话:

  • E-mail:

  • 所在单位:

  • 需求数量:

  • *咨询内容:

免责声明:交易有风险,请谨慎交易,以免因此造成自身的损失,本站所展示的信息均由企业自行提供,内容的真实性、准确性和合法性由发布企业负责。本站对此不承担任何保证责任。
商国互联供应商 品质首选

秦皇岛同力达环保能源股份有限公司

  • 联系人:杨作苗(市场部经理)
  • 手机:13603238177
  • 电话:
  • 会员级别:免费会员
  • 认证类型:企业认证
  • 企业证件:已通过企业认证 [已认证]
  • 认证公司:
  • 主营产品:污水处理成套设备 压力容器 换热设备 供水设备 一体化净水器 过滤设备 化工机械设备 反渗透装置 超滤设备 疏水自动加压器
  • 公司所在地:河北省秦皇岛市