信科宣带你熟悉矿用SFB型水封泄爆引压导暴管
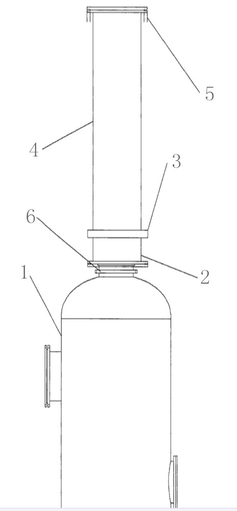
- 价 格:
面议 /
台
- 供 应 地:
- 发布公司:苏州信科宣智能科技有限公司
- 产品型号:SFB型
- 品 牌:信科宣
- 发布日期:2021/12/7 14:46:58
- 联系人QQ:3435674037

详细说明
态度决定一切,不能用正确的态度对待工作,就不能在工作中尽职尽责。既然改变不了环境,那就改变自己,尽到自己本份,尽力完成应该做的事情。只有热爱自己的本职工作,才能把工作做好,最重要的是保持一种积极的态度,本着对工作积极、认真、负责的态度,踏实的干好本职工作。
一、产品介绍
本实用新型一种泄爆导爆装置,属于煤矿安全抽采设备技术领域,特别是涉及一种泄爆导爆装置。采用了新型设置了钢结构支架和钢平台,将导爆观的支撑点从泄露桶转移到支撑平台,减轻了导爆桶的负担的同时增加了导爆观的稳固性。包括:泄爆桶、泄爆片、标准变径管、波纹管软连接、导爆观、钢结构支架和钢平台,泄爆片设置在泄爆桶和标准变径管之间,泄爆桶的顶端与标准变径管的底端通过法兰连接固定在一起并将泄爆片压紧,标准变径管的顶端通过法兰与波纹管软连接的顶端通过法兰与导爆观的底端连接固定,导爆观的顶端穿过房顶平台并伸出房顶平台外,所述钢结构支架为由多根钢柱搭建而成的空间结构,泄爆桶位于钢结构支架内,钢平台位与钢结构支架顶部由钢结构支架支撑,且钢平台位与波纹管软连接和房顶平台之间,导爆观穿过钢平台。本实用新型用于泄爆导爆,可方便的更换泄爆片。
二、主要作用
保证瓦斯抽采系统设备的安全运行,防止因意外爆炸造成设备损坏,在瓦斯抽放系统管路上安装有水封阻火泄爆装置。现有的水封阻火泄爆装置存在以下问题;一是未安装导爆观,将爆炸冲击波泄爆至瓦斯泵房内,留下安全隐患;二是安装了导爆观,导爆观的固定、支撑点分别在抽采泵房房顶和泄爆桶处,泄爆后无法更换泄爆片,危及抽采泵站的安全运行。
三、结构特征
泄爆导爆装置:包括泄爆桶(1)、泄爆片(2)、标准变径管(3)、波纹管软连接(4)、导暴管(5)、钢结构支架(6)和钢平台(7)
泄爆片设置在泄爆桶和标准变径管之间,泄爆桶的顶端与标准变径管的底端通过法兰连接固定在一起并将泄爆片压紧,标准变径管的顶端通过法兰与波纹管软连接的底端连接固定,波纹管软连接的顶端通过法兰与导暴管的底端连接固定,导暴管的顶端穿过房顶平台并伸出房顶平台外.
在工作中,每个人都有自己的长处和优点。互相协作,互补不足。工作才能更顺利的进行。
技术咨询:韩经理
联系技术:18606284403
我公司自成立以来一直致力于煤矿瓦斯灾害防治技术和瓦斯利用技术方面等应用研究工作,自主研发了煤矿井下瓦斯抽放系列关键技术装备:FBQ系列水封式泄爆装置与FHQ系列防回火装置;CWG-FY型负压和CWG-ZY型正压瓦斯抽放管路自动放水器;CWG-FY3型(简CF-3型)负压气阀式自动放水器;FLK型法兰取压标准孔板及KLG型法兰取压流量测量节流装置(孔板流量计);FW-2型高负压瓦斯采取器;ZJY压风自救装置;FZQ-K型快速排渣器等,另外还有各类规格的钻杆和钻头,广泛应用于煤矿和地质勘探行业。
卖家名片Cards
卖家名片
联系人:韩静()
手机:18606284403
邮箱:
免责声明:交易有风险,请谨慎交易,以免因此造成自身的损失,本站所展示的信息均由企业自行提供,内容的真实性、准确性和合法性由发布企业负责。本站对此不承担任何保证责任。