15M气泡式水位计厂家直销
一、XF-WQX型智能气泡式水位计是我公司自主研发和生产的非接触高精度压力传感器,该款产品的成功研发率先打破了国外同类产品在中国的垄断地位和高价位局面,在行业内经历了复杂现场的反复验证;该款产品直接使用了2道空气过滤技术,通过净化空气压缩传递压力,再无需使用繁琐高昂的氮气瓶;并采用软件设置和数据修正技术,具有自动检测、故障记录、自动重启和自动修复技术。在业界领先的超低功耗技术同时,保证了传感器的高效稳定性和长久寿命,更加适合我国国情和使用环境等特点,使设备运行和维护更省心。
二、气泡式水位计产品特点:
1.双温度补偿设计,精度和可靠性更高;
2.具有自动检测、故障记录、自动重启功能;
3.可存储大于5年的采集数据,可现场导出记录;
4.气泡式水位计具有2级空气过滤,气压智能衡定,具有清堵功能;
5.多重水位滤波,智能平均波浪影响功能;
6.业界最低功耗,休眠时RS232/RS485/SDI12端口仍保持在线;
7.面板按键设计,一键式气管冲刷和单次测量;
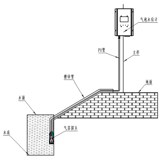
8.气泡式水位计无需建测井,无需气瓶,安装、使用和维护方便;
9.宽电源供电,防反接;端口防雷保护,过流过压保护。
了解更多关于气泡式水位计的详细信息,欢迎致电:李女士 027-50851666-620 QQ:2242517656 手机:18171265989
