气泡式压力水位计-智能气泡水位计
一、我公司自主研发生产销售的气泡式压力水位计-智能气泡水位计水位计,水利信息化行业专用水文仪器,我公司自主研发而成,研产销于一体,水利信息化系统集成商,项目立项方案策划设计单位,自主研发的气泡水位计测量精度高,优势明显,无零漂,欢迎来电咨询:李女士 027-50851666-620 QQ:2242517656 手机:18171265989。
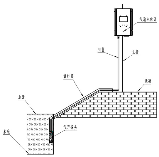
二、气泡式压力水位计测量原理
气泡式压力水位计内部的活塞泵产生压缩空气,流经专用气流线,按设定好的间隔进入气室,在气室里,气泡均匀地冒出来进入水中。气泡室孔上水的液位(h)与测量管内流体静压(P)建立关系如下:P = ρgh 那么,假设液体的密度保持不变,则测量液位和测量管内的空气压力之间就存在一定的线性关系。通过测量测管内的空气压力,就可以换算出当前的水位了,简而言之,它由活塞泵产生的压缩空气流经测量管和气泡室,进入被测的水体中,测量管中的静压力与气泡室上的水位高度成正比。XF-WQX型气泡式压力水位计先后测定大气压和气泡压力,取两个信号之间的差值,计算出气泡室上面的水位高度。这就是气泡式压力水位计测量液位的基本原理。气泡式压力水位计具有安装简单,操作、组网灵活,是遥测系统中的水位监测,尤其是无井水位测量最理想的水位监测仪器。
三、气泡式压力水位计技术参数
最大测量范围:0-20m,0-40m,0-80m(可选);
供电电压:DC9.6~25V;
储存温度:-35℃~80℃(终端);
相对湿度:≤95%RH(40±2℃)(无结露);
防护等级:IP55,可有效防淋雨;
输出:RS485(Modbus)、4-20mA;
工作电源电压:12V/24VDC可选;
分辨率:1mm;
精度:±0.05%FS;
通信:GPRS水位计;
长期稳定性: ≦±0.01%每年;
动力形式:微型隔膜气泵;
气路补偿:非泄压双气路补偿,无零漂;
数据采集时间:1秒;
工作温度:-20℃~60℃;
交流电源频率:50HZ±2HZ;
待机电流:正常工作模式下待机电流<10mA;
应用场所:静水或动水均可。
工作方式:非接触高精度压力传感器。
工作运行状态:实时监测,无需人员值守,无需建测井。
气泡式压力水位计-智能气泡水位计,气泡式水位计厂家直销,价格合理,服务一流,高精度测量,无零点漂移水位计,水位计值得您的信赖!
