武汉newfiber气泡式水位计行业领先
一、武汉新烽光电股份有限公司自主研发生产销售武汉newfiber气泡式水位计行业领先,不同于市面上其他气泡水位计,我公司自主研发的新型气泡水位计仅一个压力传感器,既可以测量内部气压也可以测量外部气压,无零漂,现场校准异常方便,可远程调试无需人工费用,后期维护方便,抗干扰能力强。气泡水位计具有安装方便,免维护,无需建测井,操作灵活,运行稳定可靠,精度高等特点,是监测系统中的最理想的无人值守的水位监测仪器。气泡水位计传感变送器采用了最先进参数设置和数据修正技术,保证了传感变送器的高精度、高可靠性、高智能化、高性价比。气泡水位计采用无需维护的离子空气净化器,免去频繁更换干燥过滤器。
二、气泡式水位计技术参数
最大测量范围:0-20m,0-40m,0-80m(可选);
供电电压:DC9.6~25V;
输出:RS485(Modbus)、4-20mA;
工作电源电压:12V/24VDC可选;
交流电源频率:50HZ±2HZ;
待机电流:正常工作模式下待机电流<10mA;
分辨率:1mm;
精度:±0.05%FS;
通信:GPRS水位计;
长期稳定性: ≦±0.01%每年;
动力形式:微型隔膜气泵;
气路补偿:非泄压双气路补偿,无零漂;
数据采集时间:1秒;
工作温度:-20℃~60℃;
储存温度:-35℃~80℃(终端);
相对湿度:≤95%RH(40±2℃)(无结露);
防护等级:IP55,可有效防淋雨;
应用场所:静水或动水均可。
工作方式:非接触高精度压力传感器。
工作运行状态:实时监测,无需人员值守,无需建测井。
四、气泡水位计应用领域:各种水位测站、河流、湖泊、水库、地下水、湿地、堤坝/桥/水坝的入口和水闸水位监测。
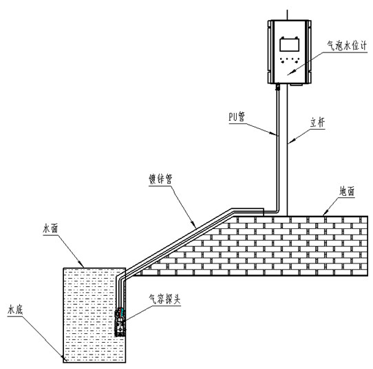
五、气泡水位计安装方式:倾斜式安装、垂直式安装,如下图所示:
武汉newfiber气泡式水位计行业领先,气泡水位计专业制造,品质一流,值得信赖!
