武汉newfiber气泡式水位计厂家直销价格实惠
一、武汉newfiber气泡式水位计厂家直销价格实惠,由武汉新烽光电自主研发而成,作为水利信息化系统集成商,自主研发生产销售的气泡式水位计系统特点如下:
可自动输出实际测量值,无需调整系数;
压差法测量,自动卸压,无漂移;
每次测量前利用压力清洗气管;
LCD显示实际测量数值,电池电压等;
内置数据记录器,存储容量:2MB(可存储160000个监测值);
内置灵巧微型智能气泵,无需维护,自动调节功耗;
在水下没有电子部件,可做到彻底防雷击。
了解更多关于气泡式水位计、气泡式水位计厂家、气泡式水位计价格的详细信息,欢迎致电:李女士 027-50851666-620 QQ:2242517656 手机:18171265989。
二、气泡式水位计技术参数指标如下:
最大测量范围:0-20m,0-40m,0-80m(可选);
供电电压:DC9.6~25V;
分辨率:1mm;
精度:±0.05%FS;
通信:GPRS水位计;
长期稳定性: ≦±0.01%每年;
动力形式:微型隔膜气泵;
气路补偿:非泄压双气路补偿,无零漂;
数据采集时间:1秒;
工作温度:-20℃~60℃;
储存温度:-35℃~80℃(终端);
相对湿度:≤95%RH(40±2℃)(无结露);
防护等级:IP55,可有效防淋雨;
输出:RS485(Modbus)、4-20mA;
工作电源电压:12V/24VDC可选;
交流电源频率:50HZ±2HZ;
待机电流:正常工作模式下待机电流<10mA;
应用场所:静水或动水均可。
工作方式:非接触高精度压力传感器。
工作运行状态:实时监测,无需人员值守,无需建测井。
四、气泡式水位计应用领域:各种水位测站、河流、湖泊、水库、地下水、湿地、堤坝/桥/水坝的入口和水闸水位监测。
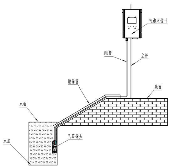
五、气泡式水位计安装方式:倾斜式安装、垂直式安装,如下图所示:
