武汉newfiber气泡式水位计厂家直销量大从优
一、武汉newfiber气泡式水位计厂家直销量大从优,由武汉新烽光电自主研发而成,具体技术优势如下:
非接触式测量,精度高、稳定性好、维护方便;
安装便捷,无需建测井,且不受水面漂浮物的影响;
具有零点自动校正功能,可完全消除零点漂移误差;
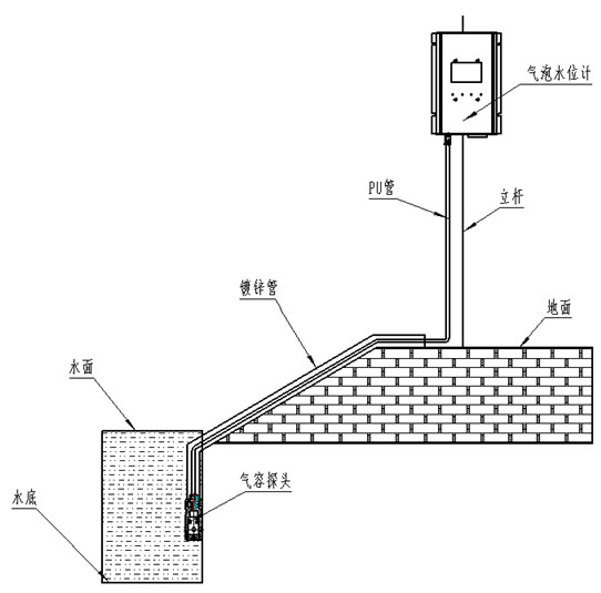
通过外接温度传感器,可有效补偿液体比重受温度变化的影响;
气泡式水位计具有模拟输出和数字通讯接口,方便用户使用;
宽电压设计,具有反接保护、过压过流保护和雷击浪涌吸收能力;
配置LCD显示屏和输入键盘,直观显示即时水位,操作灵活;
自动清洗功能,确保导气管畅通;
循环存储1万多条测量记录;
气泡式水位计采用Modbus通讯协议,方便与各种数据采集设备对接;
气泡式水位计具有高精度、高可靠、高智能、免气瓶、免测井、免维护、抗振动、寿命长的特点,特别适用于流动水体、大中小河流、水库、或者水体污染严重和腐蚀性强的工业废水等不便建测井或建井昂贵的场合,如:水利水文、大坝上下游、海洋、地下水、石油、化工、污水处理厂、城市排水泵站等水位监测。
了解更多关于气泡式水位计、气泡式水位计价格、气泡式水位计厂家、气泡式水位计销售的详细信息,欢迎致电:李女士 027-50851666-620 QQ:2242517656 手机:18171265989。
武汉newfiber气泡式水位计厂家直销量大从优,值得信赖!

