武汉newfiber气泡式水位计专业快速
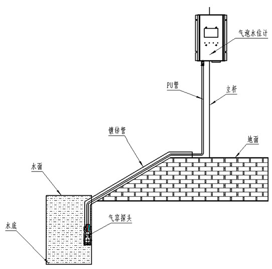
一、武汉newfiber气泡式水位计专业快速,由武汉新烽光电自主研发专业生产而成,作为一款国内自主研发生产的智能高精度气泡压力水位计,其测量精确度和高可靠性达到国际领先水平。不同于市面上其他气泡式水位计,我公司自主研发的新型气泡式水位计仅一个压力传感器,既可以测量内部气压也可以测量外部气压,无零漂,现场校准异常方便,可远程调试无需人工费用,后期维护方便,抗干扰能力强。气泡式水位计具有安装方便,免维护,无需建测井,操作灵活,运行稳定可靠,精度高等特点,是监测系统中的最理想的无人值守的水位监测仪器。气泡式水位计传感变送器采用了最先进参数设置和数据修正技术,保证了传感变送器的高精度、高可靠性、高智能化、高性价比。气泡式水位计采用无需维护的离子空气净化器,免去频繁更换干燥过滤器。
二、气泡式水位计技术参数
最大测量范围:0-20m,0-40m,0-80m(可选);
供电电压:DC9.6~25V;
分辨率:1mm;
精度:±0.05%FS;
通信:GPRS水位计;
长期稳定性: ≦±0.01%每年;
动力形式:微型隔膜气泵;
气路补偿:非泄压双气路补偿,无零漂;
数据采集时间:1秒;
工作温度:-20℃~60℃;
储存温度:-35℃~80℃(终端);
相对湿度:≤95%RH(40±2℃)(无结露);
防护等级:IP55,可有效防淋雨;
……
武汉newfiber气泡式水位计专业快速,厂家直销,服务周到,更多关于气泡式水位计、气泡水位计、水位计的信息欢迎致电李女士 027-50851666-620 QQ:2242517656 手机:18171265989,值得信赖!
